公共直流母线
- 作者: 石季英
- 来源: 百度百科
- 点击: 29458
时间: 2022-01-14
公共直流母线主要应用于多电机传动系统中,用于控制调速系统的高精度,同时将系统在制动过程中产生的再生能源加以合理利用和回收。
公共直流母线原理公共直流母线采用单独的整流/回馈装置,为系统提供一定功率的直流电源,调速用逆变器直接挂接在直流母线上。当系统工作在电动状态时,逆变器从母线上获取电能;当系统工作在发电状态时,能量通过母线及回馈装置直接回馈给电网,以达到节能、提高设备运行可靠性、减少设备维护量和设备占地面积等目的。
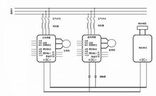
公共直流母线控制系统的架构整流/回馈单元1、整流/回馈单元把交流电源转换为电压稳定的直流电源,即使在逆变器能量回馈到电网时,该电压在规定范围内仍保持恒定;
2、整流/回馈单元的功率部分一般由2个反并联晶闸管桥组成,可在输入端电网和逆变器中间回路之间整流和回馈。
3、回馈单元可分为通过自耦变压器的能量回馈和不通过自耦变压器的能量回馈两种方式。
(1)通过自耦变压器的能量回馈可提高回馈支路中的电源电压,目的是在能量回馈过程中不必降低中间回路电压,使得逆变器能够获得一个较恒稳的直流电源;
(2)不通过自耦变压器的能量回馈实际上是保持系统一直处在回馈状态,在整流过程中依靠持续降低具有相角控制的中间回路的电压来实现;
逆变单元逆变单元把电压稳定的直流电源转化为电压、频率可调的交流电源,以满足电机平滑调速的目的2。
公共直流母线的作用提升系统的安全性以低压传动技术中的同步程序为例,当需要同步运行的变频器出现不同步时候,转的快的电机就会拉动转的慢的电机,这个时候滞后的电机处于发电状态,这个回路电势必会产生很大的电流强度,对电机有损害。此时,可将这些变频器的直流母线接在一起,进而提升了系统的安全性。
便于维修在维修或检修的时候,用来测量变频器各部分是否有电流通过,电压是否正常等等。比如:在整流部分测量到母线两端电压为500v,说明电源部分正常供电;变频器工作后,测量到母线两端电压与设定频率对应正确,说明变频器正常工作等等;
公共直流母线使用场合1、公共直流母线最适合比例连动多台控制,可以驱动三相永磁同步电机;
2、在比例连动或有能量反馈的负载,如:油田瞌头机、拉丝机、起重机、比例连动控制系统等负载,一般使用变频器驱动都需增加反馈电网的装置或制动电阻,否则无法顺利使用。
公共直流母线特点1、系统用电效率最高;
2、电机反馈能量可以被利用;
3、瞬间停电不会跳脱停机.;
4、功率因数较高,可达95%以上;
5、电网谐波较低;
6、可以急降速;
7、允许频繁起动操作;
8、电机功率无须相同。
公共直流母线使用注意事项1、逆变器需共享整流装置,此整流装置为共用直流母线专用装置;
2、逆变器尽量安装在一起,避免远距离配线,最好在同一个电气房;
3、逆变器每一台都必须另外作隔离保护装置;
4、不能使用一般变频器作公共直流母线使用,否则会有炸机的危险;
5、电机M1~M4的容量功率可以不必相同,但必须考虑停机时能量反馈能否被用掉。
6、一般运转台数在4~12台(电机功率可以不相同)一组公共直流母线为佳;
7、逆变器可以驱动永磁同步电机,解决起动的冲击问题。
(责任编辑:符文强)
声明:文章版权归原作者所有,本文摘编仅作学习交流,非商业用途,所有文章都会注明来源,如有异议,请联系我们快速处理或删除,谢谢支持。
(原文章信息:标题:公共直流母线,作者:石季英,来源:百度百科,来源地址:https://cloud.kepuchina.cn/newSearch/imgText?id=6654092123336110080)
相关内容







